動(dong)套筒調節閥.jpg)
電(dian)動(dong)套筒調節閥
ZAZM-16P 電(dian)動(dong)套筒調節閥由引(yin)進型(xing)電(dian)動(dong)執(zhi)行機構(gou)與(yu)的閥體(單(dan)座、雙座、套筒)組配而成。是(shi)DKZ型(xing)電(dian)動(dong)單(dan)元組合儀(yi)表(biao)中的執(zhi)行單元(yuan),電(dian)動(dong)調(tiao)節閥是生(sheng)產過程(cheng)自(zi)動(dong)調(tiao)節系統中的重(zhong)要(yao)環節之(zhi)壹,它(ta)以AC220V電(dian)源(yuan)電(dian)壓為(wei)動(dong)作(zuo)力(li),接(jie)受(shou)統壹標準(zhun)信號(hao)0~10mA DC或4~20mADC,將(jiang)此(ci)轉(zhuan)為(wei)與(yu)輸入(ru)信號(hao)相(xiang)對(dui)應的上(shang)下位移(yi),自(zi)動(dong)地(di)操(cao)縱閥門,改(gai)變閥門的開(kai)度位移(yi),從而達到(dao)對(dui)工藝管(guan)路(lu)流體(ti)介質(zhi)如(ru)壓(ya)力、流量(liang)、溫度、液位等(deng)參數(shu)的自(zi)動(dong)調(tiao)節控制。
公(gong)稱通徑(jing)(DN) | 20 | 25 | 32 | 40 | 50 | 65 | 80 | 100 | 125 | 150 | 200 | 250 | 300 | |
閥座直(zhi)徑(jing)(dn) | 20 | 25 | 32 | 40 | 50 | 65 | 80 | 100 | 125 | 150 | 200 | 250 | 300 | |
額定流量(liang)系數(shu)(KV) | 單(dan)座 | 6.9 | 11 | 17.6 | 27.5 | 44 | 69 | 110 | 176 | 275 | 440 | 630 | 875 | 1250 |
套筒 | 6.3 | 10 | 16 | 25 | 40 | 63 | 100 | 160 | 250 | 360 | 570 | 850 | 1180 | |
雙座 | 8 | 11 | 17,6 | 27.5 | 44 | 69 | 110 | 176 | 275 | 440 | 690 | 900 | 1300 | |
允許壓差(MPa) | 單座 | 3.8 | 3.2 | 3.0 | 2.0 | 1.8 | 1.5 | 1.4 | 1.0 | 0,7 | 0.6 | 0.5 | 0.3 | 0.1 |
套筒 | 6.4 | 6.4 | 5.2 | 5.2 | 4.6 | 4.6 | 3.7 | 3.7 | 3.5 | 3.1 | 3.1 | 2.6 | 2.2 | |
雙座 | ≤ 公(gong)稱壓力(li) | |||||||||||||
公稱壓力(li)(MPa) | 1.6、2.5、4.0、6.4、10.0 | |||||||||||||
額定行程(cheng)(mm) | 16 | 25 | 40 | 60 | 100 | |||||||||
閥蓋形(xing)式 | 標準(zhun)型(xing)(-17~+250℃)、高(gao)溫型(xing)(+250~+450℃)、低溫型(xing)(-40~-196℃)、波紋(wen)管(guan)密(mi)封型(xing)(-40~+350℃) | |||||||||||||
壓蓋形(xing)式 | 螺栓壓緊(jin)式(shi) | |||||||||||||
密(mi)封填料(liao) | V型(xing)聚(ju)四(si)氟(fu)*烯填(tian)料(liao)、V型(xing)柔性石(shi)墨填(tian)料(liao) | |||||||||||||
閥芯形(xing)式 | 單座式(shi)、套筒式、雙導(dao)向(xiang)式 | |||||||||||||
流量(liang)特性 | 等(deng)百(bai)分比、直(zhi)線性 | |||||||||||||
配(pei)置(zhi)執行器類別(bie) | DKZ系列(lie)電(dian)動(dong)執(zhi)行器(客(ke)戶(hu)指(zhi)定品牌(pai)亦可(ke)) | |||||||||||||
執(zhi)行器參數(shu) | 電(dian)源(yuan)電(dian)壓:220V、380V、輸(shu)入(ru)信號(hao):4-10mA DC、4-20mA DC、輸出(chu)信號(hao):4-20mA·DC | |||||||||||||
防(fang)護等(deng)級(ji):相(xiang)當(dang)IP65、隔(ge)爆(bao)標誌(zhi):ExdⅡBT4(ExdⅡBT6特(te)殊定制)、手操(cao)功能:手柄 | ||||||||||||||
環境(jing)溫(wen)度:-25~+70℃、環境(jing)濕(shi)度:≤95% | ||||||||||||||

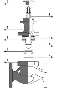
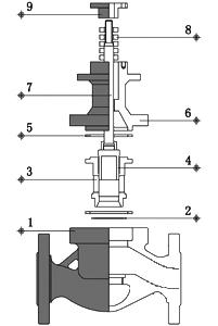
精(jing)小(xiao)型(xing)電(dian)動(dong)調(tiao)節閥 (單座式(shi)結(jie)構) | 精(jing)小(xiao)型(xing)電(dian)動(dong)調(tiao)節閥 (套筒式結(jie)構) | ||||
1 | 閥體 | WCB、CF8、CF8M、CF3 | 1 | 閥體 | WCB、CF8、CF8M、CF3 |
2 | 墊(dian)片(pian) | PTFE、金屬(shu)石(shi)墨墊(dian)片 | 2 | 墊(dian)片(pian) | PTFE、金屬(shu)石(shi)墨墊(dian)片 |
3 | 閥座 | 304、316、316L | 3 | 套筒 | 304、316、316L |
4 | 閥芯組件(jian) | 304、316、316L | 4 | 閥芯 | 304、316、316L |
5 | 導(dao)向(xiang)套/並(bing)帽(mao) | 304、316、316L / 銅 | 5 | 中墊(dian) | PTFE、金屬(shu)石(shi)墨墊(dian)片 |
6 | 中墊(dian) | PTFE、金屬(shu)石(shi)墨墊(dian)片 | 6 | 閥蓋 | PTFE\石(shi)墨墊(dian)片 |
7 | 閥蓋 | WCB、CF8、CF8M、CF3 | 7 | 閥桿 | 304、316、316L |
8 | 填(tian)料(liao) | PTFE、柔性石(shi)墨 | 8 | 填(tian)料(liao) | PTFE、柔性石(shi)墨 |
9 | 填(tian)料(liao)壓(ya)蓋(gai) | WCB、CF8、CF8M、CF3 | 9 | 填(tian)料(liao)壓(ya)蓋(gai) | WCB、CF8、CF8M、CF3 |

●ZAZP電(dian)動(dong)調(tiao)節閥(單座、雙座結(jie)構)
公(gong)稱通徑(jing)(DN) | 20 | 25 | 32 | 40 | 50 | 65 | 80 | 100 | 125 | 150 | 200 | 250 | 300 | |
L | PN16/25 | 181 | 184 | 200 | 222 | 254 | 276 | 298 | 352 | 410 | 451 | 600 | 640 | 880 |
PN40 | 194 | 197 | 200 | 235 | 267 | 292 | 317 | 368 | 425 | 473 | 610 | 760 | 910 | |
PN64 | 206 | 200 | 210 | 251 | 286 | 311 | 337 | 394 | 440 | 508 | 650 | 810 | 950 | |
H | PN16/25 | 52.5 | 57.5 | 75 | 75 | 85.5 | 92.5 | 100 | 110 | 142.5 | 158 | 170 | 195 | 230 |
PN40 | 52.5 | 57.5 | 75 | 75 | 82.5 | 92.5 | 100 | 117.5 | 150 | 167.5 | 187.5 | 205 | 245 | |
PN64 | 65 | 40 | 85 | 85 | 90 | 102.5 | 107.5 | 125 | 172.5 | 195 | 207.5 | 230 | 260 | |
H1 | 653 | 665 | 671 | 683 | 698 | 789 | 792 | 796 | 847 | 855 | 894 | 1156 | 1215 | |
W | 460 | 460 | 460 | 460 | 530 | 530 | 530 | 530 | 630 | 630 | 630 | 630 | 630 | |
●ZAZP電(dian)動(dong)調(tiao)節閥(套筒結(jie)構)
公(gong)稱通徑(jing)(DN) | 25 | 32 | 40 | 50 | 65 | 80 | 100 | 125 | 150 | 200 | 250 | 300 | |
L | PN16/25 | 185 | 200 | 220 | 250 | 275 | 300 | 350 | 410 | 450 | 550 | 670 | 770 |
PN40 | 190 | 210 | 230 | 255 | 285 | 310 | 355 | 425 | 460 | 560 | 740 | 805 | |
PN64 | 200 | 210 | 235 | 265 | 295 | 320 | 370 | 440 | 475 | 570 | 750 | 820 | |
H | PN16/25 | 117 | 120 | 139 | 144 | 188 | 208 | 220 | 268 | 278 | 320 | 441 | 503 |
PN40 | 124 | 128 | 145 | 150 | 195 | 220 | 230 | 280 | 290 | 335 | 465 | 528 | |
PN64 | 130 | 135 | 155 | 170 | 205 | 240 | 255 | 295 | 310 | 360 | 480 | 550 | |
H1 | 668 | 668 | 684 | 684 | 785 | 785 | 795 | 945 | 945 | 945 | 1050 | 1145 | |
W | 460 | 460 | 460 | 530 | 530 | 530 | 530 | 630 | 630 | 630 | 630 | 630 | |


